トレード
【海外FX】アイフォレックスに2,000ドル入金した結果<履歴公開>
海外FXの「I FOREX」でトレードしてみました。
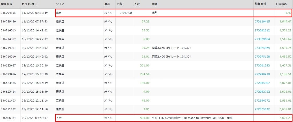
2,000ドル(約20万8,000円)の入金し、3,649ドル(約37万9,496円)を出金。
合計1,649ドル(約17万1,496円)のプラスです。
2020年12月8日~2020年12月11日のトレード履歴▽
アイフォレックスを使ってみた感想
率直な感想としては、
「かなりトレードしやすいです。アイフォレックス。」
私はいつもMT5でトレードしていたので独自プラットフォームを採用しているブローカーは正直なところ、
どうなのかなと思っていましたが十分使いやすいです。
MT4、MT5に対応してないのは残念ではありますが、
慣れてしまえばこちらのプラットフォームのほうが使いやすいのでは。
という感想です。
さらに、
アイフォレックスには海外FX恒例の100%入金ボーナスがありますので初心者の方には心強い。
引き続き、今後も使っていきたいと思います。

松原真司
—–関連記事—–
【FX初心者向け】入出金の話「利益は即出金しよう」
投稿者: Shinji Matsubara
An independent investor focused on on-chain markets and global market structure.
Rather than titles or location, the work centers on understanding liquidity, incentives, and human behavior behind price movements.
Through direct market participation, observations are documented with an emphasis on risk management, long-term thinking, and continuous learning.
These insights are shared through The Matsubara Report.
Shinji Matsubara の投稿をすべて表示